浏览数量: 654 作者: 本站编辑 发布时间: 2018-11-21 来源: 本站
如何添加文章?一般情况下,公司的新闻、资讯都是以文章的形式添加在网站上。首先需要先登录领动网站后台,然后按照以下步骤来操作:
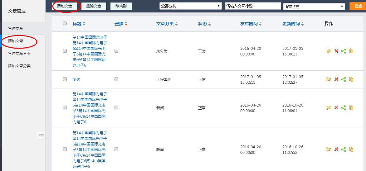
第1步:单击“内容”》“文章管理”,进入管理文章页面;
第2步:单击“添加文章”按钮,弹出添加文章的编辑页面;
第3步:在文章编辑页面,输入相关信息,带红色型号的为必填项,其它根据需要填写即可:
第一部分:
标题:即文章标题,若兼顾网站优化,请把鼠标放到标题后面的问号图标,可以参考给出的一些建议;
所属文章分类:此篇文章属于哪个分类,直接选择某一个分类即可。若所属的分类有层级,只能选择最深的那个层级;
文章关键词:请输入此篇文章的关键词或要推广的产品关键词,当然这篇文章需要与此产品关键词相关才可以,不要生搬硬套;
状态:正常、草稿(暂时不想发布,可以设置为草稿状态,等写好了再设置为正常状态)、也可以设置定时发布(任意时间都可以);
是否置顶:若勾选置顶,会显示在所有文章最前面;
文章附图:此文章附图主要显示在文章列表组件与文章详情组件;如果这两个组件选择了带文章附图的风格,此图片就会显示出来;建议把所有文章中文章附图做成宽与高的比例一样的图片,这样展示比较美观;
文章列表组件和文章详情组件风格已经选好的用户可以忽略以下1)和2)内容:
1)文章列表组件:如下图红框圈出来风格都是带文章附图的风格,并且可以在此组件中设置图片的宽度与高度。

2)文章详情组件:如下图所示,红框圈起来的风格都是带文章附图的风格。如果想不想文章附图显示在文章详情中,就选择最后一个文章详情风格。
第二部分:
文章浏览次数:可以自行设置;
文章内容:可以输入文本、文本超链接、视频、图片、上传文档等,如下图所示。
请注意:从word、excel等文档或其它网页复制过来的文字要先放到记事本中再复制粘贴过来,如果直接粘贴过来由于原有内容带有样式会造成本篇文章代码冗余或展示有问题等不好的后果,其中图片需要通过下图所示的“上传图片按钮”上传上来。
单击查看:如何在某一篇文章页面上传视频?
第三部分:可以输入文章摘要、来源、作者、网址。
文章摘要:会自动把文章内容前面的信息生成在文章摘要中,您可以根据需要修改;
作者、来源、网址:可以点击这些文字后面的问号小图标查看从网站优化的角度给出的一些建议;
搜索引擎优化:这里会根据上面填写的信息,自动生成这篇文章的页面标题、页面关键词、页面描述(怎么查看SEO推广代码模板),若生成的信息不是您要的,您可以手动对这些信息进行修改。
第四步:可以根据需要,选出5~20篇与该文章相关联的产品展示在前台文章详情页面。如果要显示在前台文章详情页面,需要先在文章系统页面的文章详情页面添加一个相关产品组件才可以。
第五步:填写好文章信息之后,单击页面底部的“保存”。添加的文章不需要发布就会自动同步到前台网站上。
二.功能优化
1.2017年11月新增文章URL自定义功能:
【应用场景】当需要对文章进行更细化的描述时,有了URL自定义功能后就更加方便啦~
【操作方式】在后台编辑界面中从内容进入文章编辑界面,在文章编辑界面勾选自定义URL一栏,输入自定义的URL即可,注意URL必须以/开头,以.html结尾哦~
2.后台文章管理列表新增“发布人”字段。 (2018-5-31优化)
(1)新增功能应用场景:当用户希望查看网站文章的发布员工,判断员工的工作认真程度时,可以在后台文章管理列表查看发布人,并对此进行筛选和搜索。
(2)新增功能操作方法:
新增功能:(2018-12-11更新)
1、后台针对产品文章FAQ数据新增敏感词过滤功能;
【应用场景】 为了响应《中华人民共和国广告法》的规定,方便客户在建设网站中能够准确判别敏感词,领动建站针对产品关键词,产品描述和文章关键词,文章内容等多处地方新增广告法敏感词过滤功能。
【应用效果】输入完信息,输入框下方会自动提示输入的内容中包含的敏感词,您可以根据敏感词提示自行修改文章内容,或者选择直接保存发布文章,应用效果如下截图所示:

【内容描述】
新增功能(2019-5-29优化)
1、“文章描述”编辑器新增可读性分析功能。
【应用场景】在撰写文章时,为了让文章可读性更高,系统增加了“可读性分析”功能。文章编辑人员可以在撰写文章后,通过智能化的内容分析检测,评估文章的可读性,然后根据可读性分析的建议有针对性的调整文章,达到高可读性的目的。
【操作方法】在添加文章页面,在文章描述内容下方点击“可读性分析”,系统即自动检测文章内容的可读性,并在编辑器下方显示分析结果及修改意见。